德州仪器推出全新汽车SoC和雷达芯片,助力提升车辆安全性和自动驾驶能力。TDA5系列SoC支持L3级自动驾驶,集成高性能AI加速功能,同时AWR2188雷达芯片实现高分辨率4D成像,简化系统设计。

VESA发布DisplayPort汽车扩展规范1.1版,集成全新软件仿真器,支持汽车安全与安保标准,助力芯片制造商和系统集成商提升设备安全性与可靠性。

CES 2026上,因克斯推出三款人形机器人关键零部件,涵盖灵巧手、行星关节和智能电池,为量产提供完整动力系统方案。产品具备高精度操控、轻量化设计和快速更换功能,适配多种工业场景,推动核心部件标准化进程。

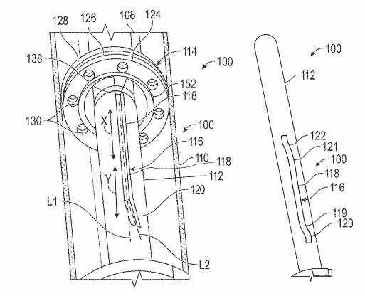
通用汽车推出新型自适应减震器设计,通过机械式调节阻尼特性提升驾驶体验。该系统采用特殊导向槽结构,适应不同路况,优化车辆操控稳定性。专利技术为汽车悬挂系统提供新思路,助力提升舒适性与性能平衡。

车联天下推出全球首个深度融合电子电气架构Deep Fusion EEA,实现计算、通信与软件的系统性整合,提升整车能效与智能化水平,为高阶智能驾驶和车载AI提供技术基础。
