欢迎来到沃能渡车配网官网!
当前位置: 主页 > 行业新闻
行业新闻

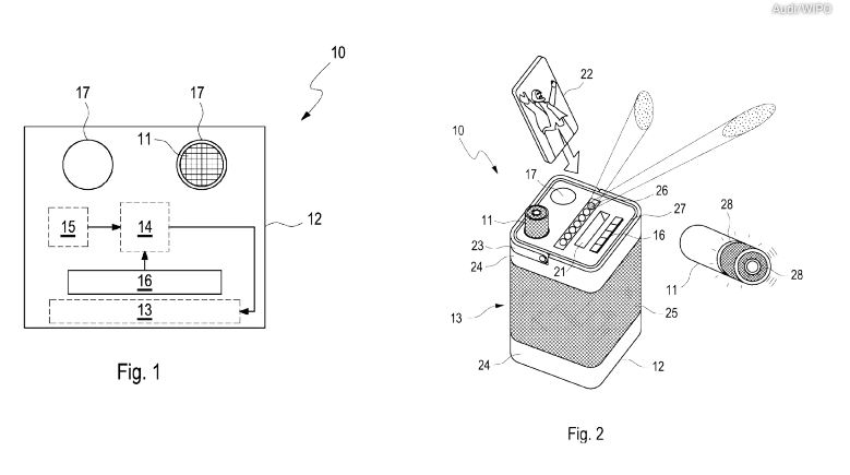
奥迪申请车载卡拉OK模块 实现边走边唱

发布时间:2026-04-17人气:

本站讯 在私密空间伴随着自选音乐哼唱,是驾驶过程中特有的乐趣之一。虽然难以获得精确的数据,但是可以推测,Phil Collins的歌曲《In The Air Tonight》中的鼓点节奏,在方向盘上被即兴敲击的频率,远高于人们在真实的鼓上演奏的次数多。不过,此种不受限制的车内歌唱行为给汽车制造商带来了一项天然挑战,即如何将此种自然愉悦的行为变成可控且不机械、僵硬的功能。

奥迪申请车载卡拉OK模块 实现边走边唱

奥迪专利图(图片来源:美国专利商标局)