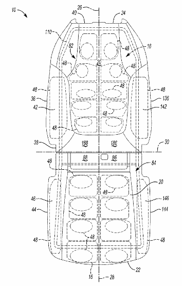
通用汽车最新专利展示了一种可调节座椅尺寸的技术,通过气囊和泡沫材料组合实现座椅形状、软硬度及支撑区域的自动调整,提升驾乘舒适体验。该技术为个性化座椅设计提供新方向,满足不同用户需求。

福特2025年在美国市场销量同比增长6%,主要受益于混动车型和平价皮卡的强劲需求。尽管电动车增速放缓,但基础款车型的受欢迎程度帮助公司稳定增长。

2025年比亚迪乘用车出口TOP10国家中,墨西哥以11.6万辆销量登顶,巴西、比利时紧随其后。欧洲多国表现稳健,纯电与插混车型均衡增长。文章分析比亚迪在不同市场的出口策略与产品适配性,揭示其全球化布局的关键路径与增长逻辑。

美国众议院计划审议多项法案,旨在简化自动驾驶汽车上路流程,提升车企部署上限并统一各州法规。相关提案关注安全标准与行业监管,推动自动驾驶技术落地,助力美国车企应对国际竞争。

图达通在CES2026展示其全场景激光雷达产品,推动物理AI在真实环境中的落地。覆盖L2-L4级自动驾驶及多机器人场景,为无人货运提供可靠感知方案。
